What is MPO connector?
MPO connector is a multi-core connector standard that usually arranges 12 core optical fibers in a row, which can support one or more rows of optical fibers in the same MPO connector.
Multi Push On is short for MPO. The standard is regulated by IEC 61754-7 and is based on the emissions within the connector. The number of cores is different, divided into one row (12 cores) and multiple rows (24 cores or more). MPO connector is a type of optical fiber connector that is often used as a connector type for high-speed transmission standards, such as the IEEE 802.3bm standard for 40G/100G transmission, etc., which can be used in data centers.
Application of MPO connector
MPO high-density optical fiber pre-connection system is currently mainly used in three major fields:
- High-density environments of data centers
- Optical fiber to the building
- Integrated wiring
- Connection applications within optical transceiver equipment such as optical splitters, 40G, 100G, QSFP+, etc.
MPO Connector Types
According to IEC 61754-7, there are several factors to distinguish MPO/MTP connectors:
Fiber count (number of optical fiber arrays)
At present, the factory pre terminated MPO connectors can accommodate 6 to 144 optical fibers, mostly use 12 core MPO and 24 core MPO connectors. According to IEC-61754-7 and EIA/TIA-604-5 (FOCIS 5) standards, 12 core optical fibers are usually arranged in one column, which can support one or more columns of optical fibers in the same MPO connector. They are divided into one column (12 cores) and multiple columns (24 cores or more) based on the number of cores discharged in the connector.

No matter how many cores do you need, the MPO outer size is the same, only change internal MT ferrule with fiber holes inside, then you can change into different fiber count from 8 cores MPO, 12 cores MPO, 24 cores MPO, 16 cores MPO and 32 cores MPO connectors.
- And MPO 8 connector is actually MPO 12 connector, just the middle 4 cores not have real fiber.
- MPO 24 connector is two rows of 12 cores ribbon fiber array.
- MPO 32 connector is two rows of 16 cores ribbon fiber array.
40G MPO-MPO fiber optic patch cords typically use 12 core MPO multimode connectors, 100G MPO-MPO fiber optic truck cable typically use 24 core multimode MPO ferrule. Meanwhile, there are 16 cores MPO connector in a single row fiber array, which can be multiple columns to form 32 cores or more. The 16/32 core MPO fiber optic connector will become the best solution for low latency and ultra high speed transmission in the next generation 400G network.
Ferrule Assembly Type: Female / Male connector
MPO fiber optic connector spare parts include optical fibers, outer sheath (housing), coupling components, metal ring, guide pins (or PIN needle), dust caps, etc.

According to the ferrule assembly type, the connector can be 2 types: mpo male connector and mpo female connector.
The male connector has two guide pins, while the female connector does not have, only guide holes for PIN. The connection between MPO connectors is precisely aligned through guide pins, and the two MPO connectors connected to each other must be one male and one female.

When the connector is mated, the spring installed at the end of the ferrule will provide a push force to lock the ferrule with the adapter. There is a “key” on one side of the connector body, which is concave or convex and is used to limit the relative position of the connector, that is, P1, P2, etc. There is a mark called a “white dot” on the body side of the connector that designates the insertion side of the connector.

Generally speaking, MPO trunk cable both sides are female connectors and MPO cassette modules are male connectors. And the female connector is usually used in 40G/100G SR4 multimode parallel optical modules, as the MPO interface of the optical transceivers is a male connector, it is necessary to use an MPO female connector for connection. When connecting a 40G/100G SR4 multimode optical transceiver, we need to connect a 12 core MPO female multimode OM3/OM4 fiber (polarity B).
Polarity Classification (Three Line Sequences / Key)
Generally, an optical link requires two optical fibers to complete the entire transmission process. The polarity is the interconnection matching between the transmitting end (Tx) and the receiving end (Rx) at both ends of the optical fiber link.

- Polarity Type A (straight-through type): The fiber cores at both ends of the jumper are arranged in the same position, that is 1 to 1, 2 to 2, … ,12 to 12. The directions of the keys at both ends are opposite: key up corresponds to key down.

- Polarity Type B (staggered type): The fiber cores at both ends of the jumper are arranged in opposite positions, that is, 1 to 12, 2 to 11, …,12-1. The key orientations at both ends are the same: key up corresponds to key up, and key down corresponds to key down.

- Polarity Type C (pair staggered type): Type C MPO patch cord is a pair of adjacent cores that cross, that is 1 to 2, 2 to 1; 3 to 4, 4 to 3;…,11 to 12, 12-11. The orientation of the keys at both ends is also opposite: key up corresponds to key down.

Different polarity methods use different types of MPO backbone cables. However, all methods will use duplex patch cords to form the fiber optic link. The TIA standard also defines two different types of LC or SC duplex fiber optic patch cords to complete end-to-end duplex connections: Type A-A (crossover) patch cords and Type A-B (straight-through) patch cords.
How to manage polarity?
In order to meet the TIA568 standard, MPO backbone optical cables are also divided into three types: straight-through, complete crossover and line-pair crossover. The three polarity methods specified by the TIA568 standard are called Class A, Class B and Class C respectively.
- Method A: A straight-through wiring module and two different jumpers are used. One end of the jumper is a straight-through pair, and the other end of the jumper is a reversed pair. The figure below (Rx represents receiving, Tx represents transmitting) reflects the Class A connection method. This connection method uses a straight-through MPO trunk cable. In order to ensure the accuracy of polarity, the left side of the optical fiber link uses standard duplex Type A-B jumper, the one on the right is a type A-A jumper.
- Method B: A straight-through wiring module and a straight-through pair jumper are used. The figure below reflects the Class B connection method. This connection method uses a fully crossed MPO fiber trunk cable. Since the optical fibers at both ends of the fully crossed MPO trunk cable are in opposite positions, standard A-B type jumpers are used at both ends of the optical fiber link.
- Method C: The polarity is corrected by flipping the wire pairs in the trunk optical cable, using the same module and the same jumper. The figure below reflects the Class C connection method. Class C connection method uses pair-crossing MPO backbone cable, and standard A-B type jumpers are used at both ends of the optical fiber link.

How to test polarity?
Whether it is 8 fibers, 12 fibers or 24 core fibers, the MPO/MTP polarity tester must be used to detect the line sequence status of MPO products and single fiber faults in the MPO system.

What polarity method is used to upgrade the network to 40G?
40G transmission usually uses 12 core MPO/MTP connectors. In the 12 core MT ferrule fiber hole, only 8 cores are used to transmit and receive signals. The four core holes on the left are used to transmit signals, the four core holes on the right are used to receive signals, and the four core holes in the middle are not used. According to the 40GBase-SR4 standard, this polarity method can utilize multiple 10G channels for 40G transmission.
What polarity method is used to upgrade the network to 100G?
The first solution is to use a 24 core MPO connector. The upper middle 10 core holes are used to receive signals, and the lower middle 10 core holes are used to transmit signals.
The second solution is to use two side-by-side 12core MPO connectors. The 10 core holes of the left MPO/MTP connector are used to transmit signals, and the 10 core holes of the right MPO/MTP connector are used to receive signals.
The third solution also uses two stacked 12 core MPO connectors. The 10 core holes of the upper MPO connector are used to receive signals, and the 10 core holes of the lower MPO/MTP connector are used to transmit signals.
Ferrule polishing type: PC, APC
If repeated mating of traditional MT ferrules, it will cause damage to the nearby end face and affect its stability. In order to effectively improve performance, MT ferrules have two grinding methods: PC and APC.
- MPO/PC (MPO Plane Connector): The ferrule end face is flat.
- MPO/APC (MPO Angled Connector): The ferrule end face is beveled (8 degree angle).

MPO/MTP Color Distinction
Because MPO is multi-core connector with multi-core optical fibers. In order to distinguish them, they are usually colored fibers. The color of the dyed optical fiber is consistent with the optical fiber color spectrum: blue, orange, green, brown, gray, white, red, black, yellow, violet, pink and aqua.

Optical cable outer sheath color: Generally in line with international conventions, single-mode yellow, multi-mode orange, OM3 aqua, OM4 purple, and the commonly used OM4 is sometimes also aqua.
Color of MPO connector: The main body is generally black plastic parts, and can only be distinguished by the color of the shell: single-mode green, yellow (low loss), multi-mode orange, OM3 aqua, OM4 purple, and the commonly used OM4 is sometimes also aqua. The color is basically the same as the optical cable.
| Fiber type | Single mode APC | Single mode APC Elite | Multimode (OM1/OM2) | OM3 | OM4 | OM5 |
| MPO connector house | Green | Yellow | Beige / Gray | Aqua | Purple / Violet | Lemon Green |
| Cable sheath color | Yellow | Yellow | Orange | Aqua | Purple / Violet | Lemon Green |
Quality Assurance of MPO Connectors
Yingda will make mainly 4 test during mass production to ensure quality 100% before delivery.
- End face test to check if polished or grinding well,any minor scratches, dust, water droplets, damage, or oil stains are not allowed and must all meet the A-level standard before proceeding to the next process.
- Polarity test to ensure all items meet the purchase order polarity request, not make wrong item.
- Optical parameter test test all connector’s insertion loss and return loss one by one, only pass can go to the next step.
- 3D interfere test will check the geometry of the end face or tip of fiber optic terminal, it is a key factor for controlling the performance of the Fiber Optic connector. This geometry will determine which areas come into contact when two Fiber Optic connectors or termini are mated.
Connection Principle
The MPO connection principle is:
- The same fiber cores can connected with each other (12 cores connected to 12 cores, 24 cores connected to 24 cores, etc.);
- One male (Male) and one female (Female) are connected as a pair;
- They must be of the same type Polished type connections (PC to PC, APC to APC).
- The polarity of MPO connectors is managed through Key, Key Up or Key Down.
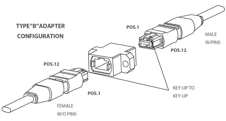
A pair of MPO connectors are matched through a MPO adapter. There are two types of MPO adapters:
- Type A is defined as Key Up/Key Down
- Type B is defined as Key Up/Key Up.
Fiber polarity can be managed by selecting a A or B adapter.


Note: MPO connectors (single-mode) using APC connection surfaces have an 8° bevel and can only be connected through Class A adapters.
Tips To Use And Clean
During the wiring process, the following points should be noted:
- 1. Try to avoid opening the dust cap before docking the fiber optic jumper.
- 2. Try not to remove the dust cap from the adapter interface that has already been connected to the adapter panel and has not yet been docked.
- 3. Except for normal docking, do not allow the connector grinding end face to come into contact with any other objects or scrape.
- 4. If there is foreseeable dirt on the end face, try to use specialized cleaning tools or dust-free paper soaked in anhydrous ethanol for cleaning. Do not use items such as paper towels, cotton swabs, or ordinary cotton swabs for end face cleaning.
- 5. When conducting connector docking, confirm the direction of the connector positioning key and insert it axially along the adapter or socket panel. It is not allowed to repeatedly insert and unplug multiple times without being able to view the end face.
- 6. When inserting the MPO connector into the adapter, pay attention to holding the tail sleeve of the connector, and when pulling it out, hold the outer shell of the connector.
- 7. When bending cables, maintain a bending radius equal to or greater than 20 times the outer diameter of the cable.
- 8. When bundling cables, maintain appropriate tightness and prevent severe deformation of the cable sheath.
- 9. When piercing and threading cables, use the method of pushing and pulling at the same time. Do not forcefully drag or push the cables to prevent scratching and causing cable breakage or breakage.
Problems May Occur With MPO Patch Cords
- 1. Guide hole damage
The main reason is that the insertion direction of the male head is tilted during connection, and the front end of the male head guide needle is chamfered and scratched, which can directly cause some or all channel loss values to increase.
- 2. Dirty end face
Mainly caused by premature removal of dust caps before docking or prolonged exposure to a non clean environment, such dirt can directly affect the product’s docking performance, make the docking effect unstable, and even cause damage to the opposite joint during docking.
- 3. Mechanical damage to parts
Mainly caused by excessive application of external forces during the construction process, such damage may not affect performance in the initial stage, but it will basically lead to complete failure in the short term.
- 4. Mechanical damage to cables
If it is mainly caused by dragging or unconscious cutting during the construction process, such damage may not affect performance in the initial stage, but it will basically lead to complete failure in the short term.
Frequently Asked Questions
What is MTP?
MTP is a “Multi fiber Termination Push on” connector, it is developed by US Conec that improves attenuation and reflection on standard MPO connectors, resulting in higher overall performance. From an external perspective, there is almost no significant difference between MPO and MTP connectors. In fact, they are completely compatible and mutually matched.
MPO/MTP fiber optic connectors and fiber optic jumpers provide a simple and easy to manage fiber optic cabling solution, widely used in FTTH and data centers that require high-density integrated fiber optic lines. They are hot demand products for 5G data center construction.
What is the difference between MPO and MTP?
In addition, MPO and MTP are produced by different manufacturers, and there are differences in the appearance and dimensions of individual parts. However, both MPO and MTP are designed based on international standards IEC/EN 61754-7 and TIA-568-B.1-7, so they can be universal in use. The term “universal” here refers to the universal use of a complete set of connectors, and does not mean that a certain accessory can be universal. Generally speaking, the performance of MTP is better than that of MPO, for example, there are still differences in IL and plugging times.
Why is MPO connector also known as MT connector?
The MPO connector is one of the MT series connectors, which is a multi-core and multi-channel plug-in connector. The MT series connectors use two guide holes with a diameter of 0.7mm on the left and right of the plug end face to accurately connect with the guide pin (also known as PIN pin).
What is special, MPO compared to regular connectors?
Compared to other connectors, MPO connectors is smaller size, higher accuracy, higher density, and multiple cores, greatly improving the popularity of optical networks and reducing production costs. Therefore, MPO jumpers are widely used in environments that require high-density integrated fiber optic wiring during the wiring process, such as FTTX and 40/100GSFP, SFP+, and other transceiver modules or equipment internal and external connection applications.
E.g.: Though MPO connector has the same size as the SC connector, but can accommodate 12 or 24 fibers, thus greatly saving cabinet wiring space.
Can you do MPO 16 connector?
Yes,yingda can make MPO 16 connector. Now we can provide MPO fiber connector types: MPO 8 connector, MPO 12 connector, MPO 24 connector, MPO 16 connector,MPO 32 connector, etc.
Besides MPO connectors, we can offer mpo trunk cable,QSFP MPO connector, MPO cassette,MPO Fanout Cable, MPO patch cords,MPO to LC breakout cable, MPO harness cable, MPO patch panels, MTP patch cord, etc.
Can you offer SENKO brand MPO?
Yes, we can use SENKO brand MPO connectors to make all kinds of MPO solution products for you. Except that, we can offer USCONEC brand too, if you like.
GET IN TOUCH